当前位置:首页 > 知产资源 > 正文
一种抗菌母料加工干燥装置
【字体:                   分享到:

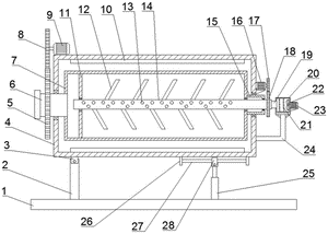
  本实用新型涉及干燥技术领域,特别是一种抗菌母料加工干燥装置,包括外箱和转动设在外箱内的内箱,在内箱的一端固定有进料筒,进料筒的进料口端转动延伸出外箱,在外箱的内壁上均匀布设有多个加热板,在内箱的另一端固定有转动筒,转动筒转动设在外箱上,且转动筒、进料筒、内箱三者的中轴线重合,在进料筒上固定套设有从齿轮一,在外箱的顶部设有转动电机,转动电机的输出轴上设有与从齿轮一啮合的主齿轮一。

 

kvxjRVlwlXHOp2uu2jspplgPUW1KUd7Y.pdf

Copyright ©2026   濮阳市知识产权公共服务平台 All Rights Reserved.