当前位置:首页 > 知产资源 > 正文
一种生产聚乙烯塑料母料的给料预热装置
【字体:                   分享到:

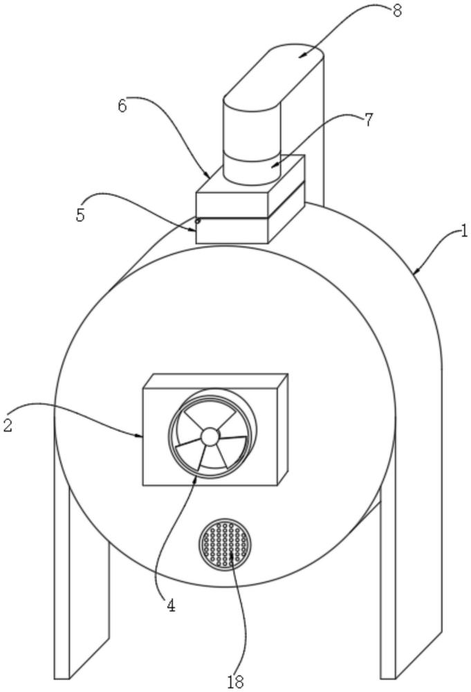
本实用新型公开了一种生产聚乙烯塑料母料的给料预热装置,具体涉及聚乙烯塑料母料生产技术领域,包括预热箱,预热箱的表面连通有加温箱,且加温箱的内部分布有多个加热棒,加温箱的表面连通有预热风机,预热箱的顶部设置有加料口,且预热箱的底部设置有排料口,加料口顶部设置有粉尘收集结构,粉尘收集结构包括吸尘框,吸尘框滑动安装在加料口的顶部,吸尘框的顶部设置有吸尘风机。本实用新型能够提高塑料的预热效率,而且能够对粉尘进行收集,不仅避免对加工环境造成影响,而且能够减少塑料粉末的浪费,提高该预热装置的使用效果。

 

一种生产聚乙烯塑料母料的给料预热装置

Copyright ©2026   濮阳市知识产权公共服务平台 All Rights Reserved.